O diretor executivo da Apple, Tim Cook, até pode dizer que a marca da maçã está neste momento mais interessada no segmento da realidade aumentada. Mas isso não impede que a tecnológica não tente as suas ideias no campo da realidade virtual.
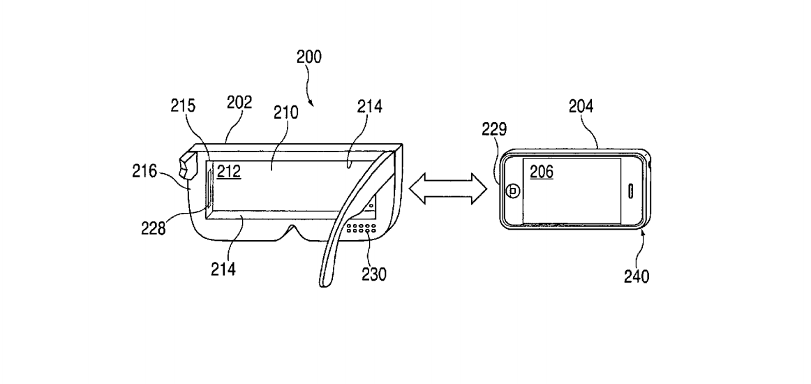
Ontem foi atribuída à Apple uma patente na qual é visível um equipamento que ao nível do funcionamento é semelhante aos Samsung Gear VR e a outros óculos de realidade virtual para dispositivos móveis – à exceção de que apenas funcionará com o iPhone.
Um dos aspetos mais relevantes da patente é que a Apple parece estar a contemplar um pequeno dispositivo que deve ser usado como controlador remoto. Existirão ainda auriculares dedicados nos óculos, o que dispensa a necessidade de um equipamento de som externo, salienta o The Next Web.
Em termos de design será difícil de dizer o que quer que seja pois por norma os desenhos das patentes são apenas indicativos das funcionalidades dos gadgets, não necessitando de corresponder à sua componente visual final.
E tal como acontece também relativamente a todas as patentes, não é pelo facto de ter sido atribuída à Apple que isso significa que a empresa vai de facto concretizar o projeto. Nesta altura a tecnológica de Cupertino é uma das poucas gigantes do mundo tecnológico que ainda não revelou qualquer projeto no segmento VR, mas talvez a atribuição da patente possa mudar as intenções da Apple.

